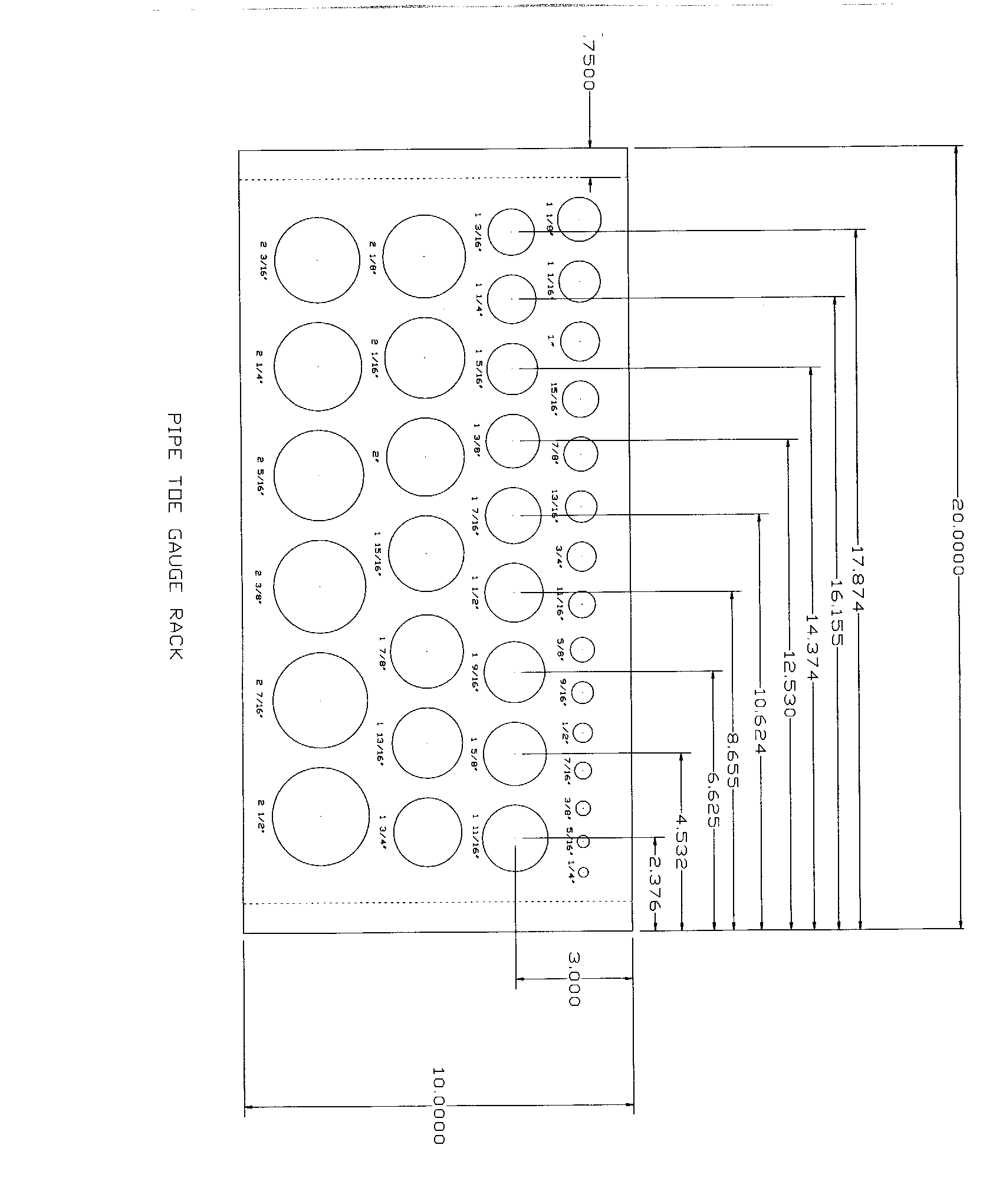
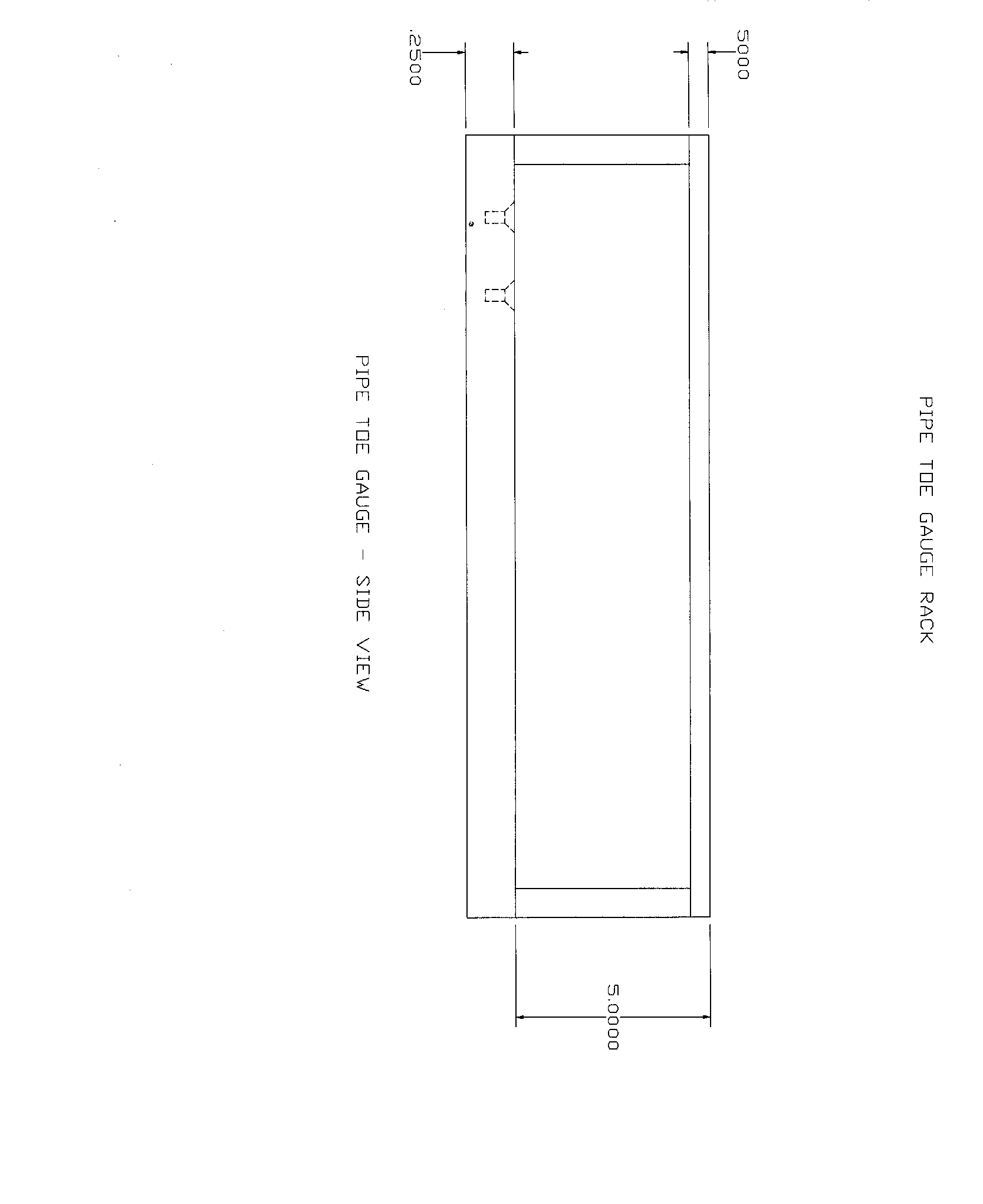
AVAILABLE GIF FILES FOR PIPECHEST GAUGE CONSTRUCTION

FILE 1 SIDE VIEW

FILE 2 TOP VIEW DIMENSION 1

FILE 3 TOP VIEW DIMENSION 2

FILE 4 TOP VIEW DIMENSION 3

FILE 5 TOP VIEW DIMENSION 4

SAVE THESE FILES BY RIGHT CLICKING AND "SAVE TARGET AS" TO YOUR COMPUTER. THESE ARE GIF FILES AND CAN BE DISPLAYED WITH INTERNET EXPLORER OR MOST COMPUTER DRAWING PROGRAMS.